Каталог
Каталог Написать в WhatsApp
Мотоэкипировка

Jet Unit 4-Х ТАКТНОГО ПЛМ MERCURY 50 Серийный номер от 1C050252 и выше

Jet Unit 4-Х ТАКТНОГО ПЛМ MERCURY 50 Серийный номер от 1C050252 и выше в Симферополе: актуальный каталог, цены, фото, описание. Купите jet unit 4-х тактного плм mercury 50 серийный номер от 1c050252 и выше в кредит – оформите заявку онлайн за 1 минуту!

Оригинальные запчасти

Артикул НАИМЕНОВАНИЕ Кол-во деталей в узле Примечание Наличие Цена Аналоги Фото
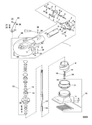
1 855767T01 HOUSING, Pump

Под заказ

1

Под заказ

уточнить

Купить
2 878377T01 LINKAGE KIT, Shift

Под заказ

1

Под заказ

уточнить

Купить
3 878382 CAM

Под заказ

1

Под заказ

уточнить

Купить
4 878380T01 REVERSE GATE, With Bumper

Под заказ

1

Под заказ

уточнить

Купить
5 827490 Шланг шприцевания водомета (HOSE-LUBE)

Под заказ

1

Под заказ

уточнить

Купить
6 8M0034456 Шпилька M8x1.25x48 (STUD)

Под заказ

6

Под заказ

уточнить

Купить
7 855708T60 Импеллер водомета (IMPELLER)

Под заказ

1

Под заказ

уточнить

Купить
8 801412T02 Корпус импеллера F40Jet (HOUSING, Intake)

Под заказ

1

Под заказ

уточнить

Купить
9 827188T02 Кольцо импеллера (LINER)

Под заказ

1

Под заказ

уточнить

Купить
10 855769T01 Приводной вал (DRIVESHAFT)

Под заказ

1

Под заказ

уточнить

Купить
11 8796522 Шайба (THRUST WASHER)

Под заказ

1

Под заказ

уточнить

Купить
12 8796531 Подшипник (BEARING-BALL)

Под заказ

1

Под заказ

уточнить

Купить
13 8271891 Втулка (SLEEVE)

Под заказ

1

Под заказ

уточнить

Купить
14 8271901 Гайка (NUT)

Под заказ

1

Под заказ

уточнить

Купить
15 36001 Шайба (WASHER, LOWER MOUNT COVER SCREW)

Под заказ

6

Под заказ

уточнить

Купить
16 801405875 Шпонка (KEY)

Под заказ

1

Под заказ

уточнить

Купить
17 801404875 Шайба импеллера (SHIM)

Под заказ

8

Под заказ

уточнить

Купить
18 801403875 Фиксатор гайки (WASHER-TAB)

Под заказ

1

Под заказ

уточнить

Купить
19 4000328 SCREW, (M6 x 16)

Под заказ

2

Под заказ

уточнить

Купить
20 8M0009111 SCREW, (M8 x 30)

Под заказ

1

Под заказ

уточнить

Купить
21 898101382 BRACKET

Под заказ

1

Под заказ

уточнить

Купить
22 401388 Гайка (NUT, M8)

Под заказ

1

Под заказ

уточнить

Купить
23 43044 Штифт (PIN, Dowel - Without Hole (.375 x .625))

Под заказ

2

Под заказ

уточнить

Купить
24 1995660 SCREW, (M10 x 60)

Под заказ

2

Под заказ

уточнить

Купить
25 4010890 SCREW (M10 X 90)

Под заказ

1

Под заказ

уточнить

Купить
26 1995670 SCREW, (M10 x 70)

Под заказ

2

Под заказ

уточнить

Купить
27 4002316 Шайба (WASHER@5)

Под заказ

2

Под заказ

уточнить

Купить

Нулевая цена не означает отсутствие товара. Оформите заказ, и менеджер сообщит вам цену и наличие товара, предварительно запросив их у поставщика

Главная Магазины
Корзина0
Профиль